“小灵茹”——他在牛钱网“出彩操盘手”长期排行榜上一骑绝尘,三十万账户以盈利出金的形式一年毛利润上千万……
“小灵茹”——牛钱网出彩操盘手大赛3月份冠军。他在牛钱网“出彩操盘手”长期排行榜上一骑绝尘,三十万账户以盈利出金的形式一年毛利润上千万;在三月份大赛当月以20多万账户获得6倍净利润,他是日内短线翻倍之神话,他或许是这个时代最优秀的短线交易员。

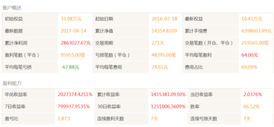
小灵茹老师在出彩操盘手大赛上账户展示:



首先第一个环节由牛钱网简单访谈小灵茹老师,访谈结束后是大家交流环节。
牛钱网小编:您09年接触期货后一直专职做期货交易,是在怎样的际遇下接触到期货的?期货市场什么样的魅力吸引了您从一开始专职做交易?有什么样的经历可以分享下。
“小灵茹”: 09年做期货前一直做权证,后来权证没有了慢慢的接触期货专职做。可以说我做期货主要是权证没有了,才被吸引做期货。太慢对我来说,买了一天不能动,我的性格算是比较急的,股票不适合我,接触期货前我也大概了解过期货的风险性,做了以后才知道远比我想像风险大。
牛钱网小编:归根到底是期货市场的暴利吸引了您。这几年交易生涯有没有什么难忘的经历分享一下?
“小灵茹”: 最难忘就是15年的股指,我做期货算是比较幸运的,基本没有爆过仓,主要是用了盈利出金的方法,我觉得没有做到稳定盈利之前还是应该这样做。
牛钱网小编:没有爆过仓是否因为是做超短线的原因?您在牛钱网出彩操盘手大赛长期排行榜上的实盘交易业绩技惊四座,可以说是超短线交易中的传奇。不少朋友认为您的操作方法其实不是短线,而是炒单,您同意这种看法吗?您有没有测算过您一分钟能下多少次单?您目前超短的具体操作方法、依据是什么?
“小灵茹”: 其实我就是炒单,靠返佣做单,一个月只要打平或者小亏我都可以算盈利,我的操作手法就是看当天均线价格做开空、做多单。
牛钱网小编:请问靠看当天均线价格做开空、做多单,一天如何交易这么频繁并保证高胜率?操作方法能否具体给群友们透露一下?
“小灵茹”: 我的方法也很简单就是做好止损、跟着趋势走,我觉得我的技术达不到中线长线那种,把握不好,以前也试过,最后还是做回自己的短线。
牛钱网小编:您九个月交易的笔数高达26万笔,每天有这么多的开仓机会吗?您去年曾接触过程序化交易,后来还是以主观交易为主,您目前的交易是否还无法用程序化来实现?或者说您目前的交易靠“盘感”的因素多一些?您如何练就这么好的“盘感”?
“小灵茹”: 螺纹我觉得机会挺多的,我主要都是螺纹的成交量。程序化我是去年开始接触的,有一个小账户在搞,当然跟我本人主观交易的成绩差很多,现在也在慢慢的学习和改进。像超短线做多的人估计都会有盘感,我平时就看分时线和盘口,成交量是有点大的每天,一个月差不多超我自己本来的几倍了手续费,还是没有做好回撤 有时候挺大的。
牛钱网小编:那是因为您盈利出金,等于已经做好了风控。您操作账户主要以盈利出金的方式,但做期货很大的魅力在于复利,如果复利操作可能资金已经上亿。是否您的这种方法不适合大资金?
“小灵茹”: 对的,这种方法资金量大了就难了,其实最好做的是股指,不过现在对我这种方法股指还是不能做。
牛钱网小编:老师的这个具体方法后面交流环节群友可以深度提问。整个一天的交易时间您都在集中精力看盘或下单吗?怎样判断一个品种有没有交易机会?比如您说的螺纹钢。
“小灵茹”: 螺纹我就是靠盘感,设置好止损来回做,其实股指也是这样做,我就看分时线和盘口。我算是比较特别,做期货开始就一个人做,大概做了六年也不知道自己的方法是炒单,不知道有手续费返还,后来得了个奖去领奖交流才知道自己的方法是炒单,手续费可以返还,才知道有程序化、套保等各种盈利手法,我做期货算是比较激进的,一直满仓搞,我控制风险就是盈利出金,这样心态也比较好。
牛钱网小编:最后一个问题吧。您的交易是否依赖五档行情?怎么获得如此高的正确率的?您觉得这样做法的市场有效期还有多久?还是可以一直这样做下去?
“小灵茹”: 上海螺纹也没五档啊。我没找到其他盈利方法前,还会继续用这样方法。盈利没固定看趋势、止损、四五跳,行情大放到10跳左右。
牛钱网小编:能听得出,老师的炒单方法独树一帜,有自己独到的诀窍在里面。好,下面可以进入交流环节,群友们可以提问了。
交流环节精选问答:
小王子:老师,我也是做螺纹,您炒单是看分时均线下 找盘口开空、分时均线上 找盘口开多吗?老师可否针对盘口举个例子,不如是懂行情动起来,找大单背靠呢,还是其他什么细节呢?我也一直在看盘口,但是不得要领。
“小灵茹”:是的,上海的可以多空开仓这点比较好,提高了资金的利用率。盘口其实有很多假单,比如有大单趋势方向,基本能吃掉向下打,还早一点要看还是要看当天的大趋势。
鑫淼:用的什么软件?下单频率这么高!
“小灵茹”: 博易的闪电手。我觉得还好,频率比股指时候少多了。
仁杰:老师持有单子大约多长时间?
“小灵茹”:不固定的,手工砍。